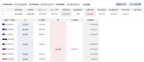
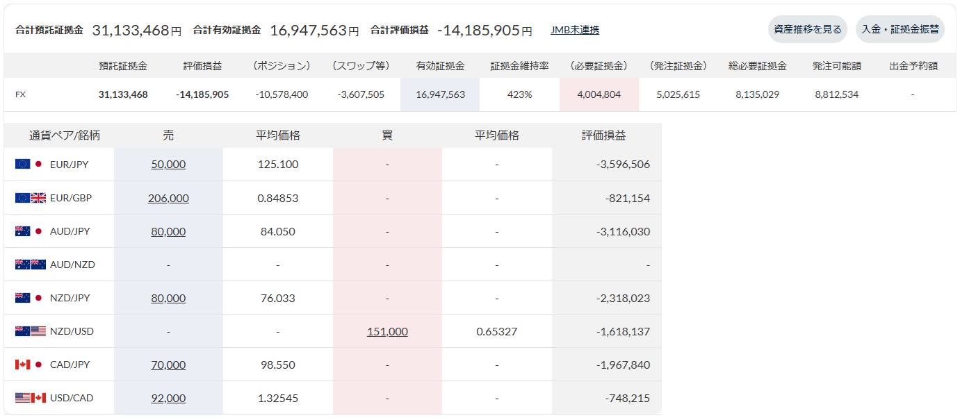
現在の合計損益は-19,019,993円、評価損益(ポジション)は-10,578,400円、証拠金維持率は423%です。
この1週間の未実現スワップ増減金額は+263,612円です(今週末:-3,607,505円、先週末:-3,871,117円)。
2月28日にポジションを30本落とし、634,739円の売買損が生じたので、それを除いた今週の実質損益は-22,696円です。
※ 実質損益=売買損益+実現スワップ+この1週間の未実現スワップ増減金額
クロス円の通貨ペアのスワップ支払い金額は、現在1日2,960円です。
- EUR/JPY 5.0万通貨×-139円=-695円(2月27日の1日分)
- AUD/JPY 8.0万通貨×-139円=-1,112円(2月27日の1日分)
- NZD/JPY 8.0万通貨×-61円=-488円(2月27日の1日分)
- CAD/JPY 7.0万通貨×-95円=-665円(2月27日の1日分)
現在、クロス円の通貨ペアは、損切りしたり、利確したりしつつ、ポジションをホールド中です。
本来の利益金額で決済可能なポジションは現在ありません。
クロス円の通貨ペア以外で、スワップがマイナスの通貨ペアのスワップ支払い金額は、現在1日1,949円です。
- NZD/USD 15.1万通貨×-70円=-1,057円(2月27日の1日分)
- USD/CAD 9.2万通貨×-97円=-892円(2月27日の1日分)
スワップがプラスの通貨ペアのスワップ受取り金額は、現在1日1,318円です。
- EUR/GBP 20.6万通貨×+64円=+1,318円(2月27日の1日分)
- AUD/NZD レンジアウト中


今週も淡々と運用結果を記録。ただそれだけ。
投資元本増減金額(2022年8月1日の週以降)

クロス円の通貨ペアのスワップの推移(2023年7月3日の週以降)


331週目の口座状況

トラリピさん、来週もよろしくお願いします。