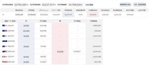
現在の合計損益は-17,729,999円、評価損益(ポジション)は-10,583,865円、証拠金維持率は447%です。
この1週間の未実現スワップ増減金額は+221,528円です(今週末:-4,124,163円、先週末:-4,345,691円)。
2月14日にクロス円の通貨ペアのポジションを20本落とし、435,130円の売買損が生じたので、それを除いた今週の実質損益は-14,266円です。
※ 実質損益=売買損益+実現スワップ+この1週間の未実現スワップ増減金額
クロス円の通貨ペアのスワップ支払い金額は、現在1日3,393円です。
- EUR/JPY 6.0万通貨×-139円=-834円(2月12日の1日分)
- AUD/JPY 9.0万通貨×-138円=-1,242円(2月12日の1日分)
- NZD/JPY 9.0万通貨×-61円=-549円(2月12日の1日分)
- CAD/JPY 8.0万通貨×-96円=-768円(2月12日の1日分)
現在、クロス円の通貨ペアは、損切りしたり、利確したりしつつ、ポジションをホールド中です。
本来の利益金額で決済可能なポジションは現在ありません。
スワップがプラスの通貨ペアのスワップ受取り金額は、現在1日1,248円です。
- EUR/GBP 19.5万通貨×+64円=+1,248円(2月12日の1日分)
- AUD/NZD レンジアウト中


いったん円高傾向となっていますが、今後、円安に転じるという見方も、レンジになるという見方もあります。
これはいつものことではありますが、どのようなスピードで損切りをしていけばいいのか悩ましい相場となっています。
購買力平価で為替レートを見た場合、IMF(国際通貨基金)による試算では2025年時点で1米ドル=92.6円となっていることを考えれば、いずれは円キャリートレードが巻き戻り、ある程度の円高になることが期待できます。
ただ、それがいつ起こるのかは分かりません。
ここのところ円安のタイミングでの損切りが多かったので、損切り時の売買損が徐々に増えてきています。
今週は損切りを見送る予定だったのですが、円高傾向となっているこのタイミングでクロス円の通貨ペアのポジションを20本落としました。
先週よりはほんの少しリーズナブルに損切りできましたが、チキン損切りだった感は否めません。
どのような相場になろうとも、少しずつクロス円の通貨ペアのポジションを落としていくことだけは決めているので、悩ましいのはどのようなスピードで落としていくのかだけです。
次に損切りをするのは3週間後? 2週間後? また来週?
明確に円高に転じたと思える相場になれば、スピードをかなり落とせるのですが……。
投資元本増減金額(2022年8月1日の週以降)

クロス円の通貨ペアのスワップの推移(2023年7月3日の週以降)


328週目の口座状況

トラリピさん、来週もよろしくお願いします。