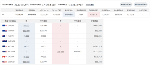
現在の合計損益は-18,818,945円、評価損益(ポジション)は-12,122,207円、証拠金維持率は396%です。
この1週間の未実現スワップ増減金額は+202,954円です(今週末:-4,345,691円、先週末:-4,548,645円)。
2月7日にクロス円の通貨ペアのポジションを20本落とし、482,870円の売買損が生じたので、それを除いた今週の実質損益は-16,899円です。
※ 実質損益=売買損益+実現スワップ+この1週間の未実現スワップ増減金額
クロス円の通貨ペアのスワップ支払い金額は、現在1日3,609円です。
- EUR/JPY 6.5万通貨×-139円=-904円(2月6日の1日分)
- AUD/JPY 9.5万通貨×-135円=-1,283円(2月6日の1日分)
- NZD/JPY 9.5万通貨×-61円=-580円(2月5日の1日分)
- CAD/JPY 8.5万通貨×-99円=-842円(2月6日の1日分)
現在、クロス円の通貨ペアは、損切りしたり、利確したりしつつ、ポジションをホールド中です。
本来の利益金額で決済可能なポジションは現在ありません。
スワップがプラスの通貨ペアのスワップ受取り金額は、現在1日1,235円です。
- EUR/GBP 19.3万通貨×+64円=+1,235円(2月6日の1日分)
- AUD/NZD レンジアウト中


今週も淡々と運用結果を記録。ただそれだけ。
投資元本増減金額(2022年8月1日の週以降)

クロス円の通貨ペアのスワップの推移(2023年7月3日の週以降)


328週目の口座状況

トラリピさん、来週もよろしくお願いします。