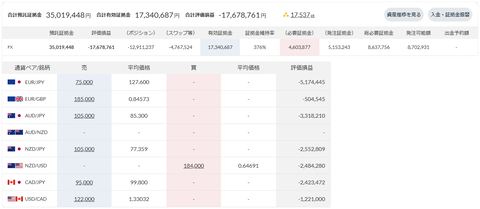
現在の合計損益は-18,626,869円、評価損益(ポジション)は-12,911,237円、証拠金維持率は376%です。
この1週間の未実現スワップ増減金額は+191,720円です(今週末:-4,767,524円、先週末:-4,959,244円)。
1月8日にクロス円の通貨ペアのポジションを20本落とし、382,875円の売買損が生じたので、それを除いた今週の実質損益は-31,464円です。
※ 実質損益=売買損益+実現スワップ+この1週間の未実現スワップ増減金額
クロス円の通貨ペアのスワップ支払い金額は、現在1日3,924円です。
- EUR/JPY 7.5万通貨×-136円=-1,020円(1月9日の1日分)
- AUD/JPY 10.5万通貨×-129円=-1,355円(1月9日の1日分)
- NZD/JPY 10.5万通貨×-57円=-599円(1月9日の1日分)
- CAD/JPY 9.5万通貨×-100円=-950円(1月9日の1日分)
現在、クロス円の通貨ペアは、損切りしたり、利確したりしつつ、ポジションをホールド中です。
本来の利益金額で決済可能なポジションは現在ありません。
スワップがプラスの通貨ペアのスワップ受取り金額は、現在1日1,258円です。
- EUR/GBP 18.5万通貨×+68円=+1,258円(1月9日の1日分)
- AUD/NZD レンジアウト中


今週も淡々と運用結果を記録。ただそれだけ。
投資元本増減金額(2022年8月1日の週以降)

クロス円の通貨ペアのスワップの推移(2023年7月3日の週以降)


324週目の口座状況

トラリピさん、来週もよろしくお願いします。