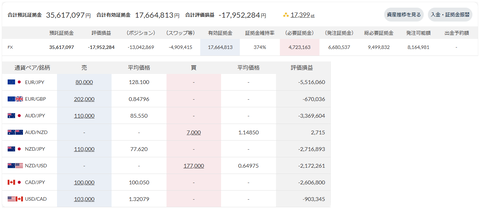
現在の合計損益は-18,302,743円、評価損益(ポジション)は-13,042,869円、証拠金維持率は374%です。
この1週間の未実現スワップ増減金額は+218,052円です(今週末:-4,909,415円、先週末:-5,127,467円)。
12月24日にクロス円の通貨ペアのポジションを20本落とし、382,505円の売買損が生じたので、それを除いた今週の実質損益は-19,854円です。
※ 実質損益=売買損益+実現スワップ+この1週間の未実現スワップ増減金額
クロス円の通貨ペアのスワップ支払い金額は、現在1日4,055円です。
- EUR/JPY 8.0万通貨×-136円=-1,088円(12月24日の1日分)
- AUD/JPY 11.0万通貨×-119円=-1,309円(12月24日の1日分)
- NZD/JPY 11.0万通貨×-58円=-638円(12月24日の1日分)
- CAD/JPY 10.0万通貨×-102円=-1,020円(12月26日の1日分)
現在、クロス円の通貨ペアは、損切りしたり、利確したりしつつ、ポジションをホールド中です。
本来の利益金額で決済可能なポジションは現在ありません。
スワップがプラスの通貨ペアのスワップ受取り金額は、現在1日1,439円です。
- EUR/GBP 20.2万通貨×+70円=+1,414円(12月24日の1日分)
- AUD/NZD 0.7万通貨×+35円=+25円(12月24日の1日分)


今週も淡々と運用結果を記録。ただそれだけ。
投資元本増減金額(2022年8月1日の週以降)

クロス円の通貨ペアのスワップの推移(2023年7月3日の週以降)


322週目の口座状況

トラリピさん、来週もよろしくお願いします。