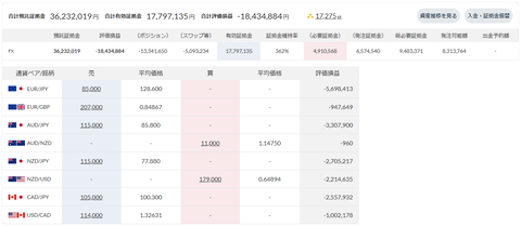
現在の合計損益は-18,170,421円、評価損益(ポジション)は-13,341,650円、証拠金維持率は362%です。
この1週間の未実現スワップ増減金額は-29,624円です(今週末:-5,093,234円、先週末:-5,063,610円)。
※ 実質損益=売買損益+実現スワップ+この1週間の未実現スワップ増減金額
クロス円の通貨ペアのスワップ支払い金額は、現在1日4,264円です。
- EUR/JPY 8.5万通貨×-137円=-1,165円(12月12日の1日分)
- AUD/JPY 11.5万通貨×-120円=-1,380円(12月12日の1日分)
- NZD/JPY 11.5万通貨×-59円=-679円(12月12日の1日分)
- CAD/JPY 10.5万通貨×-99円=-1,040円(12月12日の1日分)
現在、クロス円の通貨ペアは、損切りしたり、利確したりしつつ、ポジションをホールド中です。
本来の利益金額で決済可能なポジションは現在ありません。
スワップがプラスの通貨ペアのスワップ受取り金額は、現在1日1,704円です。
- EUR/GBP 20.7万通貨×+80円=+1,656円(12月12日の1日分)
- AUD/NZD 1.1万通貨×+44円=+48円(12月12日の1日分)


今週も淡々と運用結果を記録。ただそれだけ。
投資元本増減金額(2022年8月1日の週以降)

クロス円の通貨ペアのスワップの推移(2023年7月3日の週以降)


320週目の口座状況

トラリピさん、来週もよろしくお願いします。