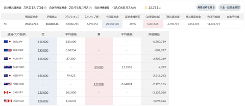
現在の合計損益は-15,019,358円、評価損益(ポジション)は-12,068,781円、証拠金維持率は389%です。
この1週間の未実現スワップ増減金額は+170,451円です(今週末:-5,999,755円、先週末:-6,170,206円)。
9月24日にクロス円の通貨ペアのポジションを20本落とし、159,850円の売買損が生じたので、それを除いた今週の実質損益は-32,408円です。
※ 実質損益=売買損益+実現スワップ+この1週間の未実現スワップ増減金額
クロス円の通貨ペアのスワップ支払い金額は、現在1日5,499円です。
- EUR/JPY 11.5万通貨×-122円=-1,403円(9月26日の1日分)
- AUD/JPY 14.5万通貨×-116円=-1,682円(9月26日の1日分)
- NZD/JPY 14.5万通貨×-78円=-1,131円(9月26日の1日分)
- CAD/JPY 13.5万通貨×-95円=-1,283円(9月26日の1日分)
現在、クロス円の通貨ペアは、ポジションを落としたり、利確したりしつつ、ポジションをホールド中です。
決済可能なポジションは、CAD/JPY:3本(3,354円)=売買益:3,354円です。
スワップがプラスの通貨ペアのスワップ受取り金額は、現在1日1,698円です。
- EUR/GBP 19.9万通貨×+82円=+1,632円(9月26日の1日分)
- AUD/NZD 3.9万通貨×+17円=+66円(9月26日の1日分)


今週も淡々と運用結果を記録。ただそれだけ。
投資元本増減金額(2022年8月1日の週以降)

クロス円の通貨ペアのスワップの推移(2023年7月3日の週以降)


309週目の口座状況

トラリピさん、来週もよろしくお願いします。