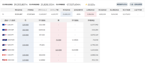
現在の合計損益は-14,139,403円、評価損益(ポジション)は-11,403,857円、証拠金維持率は405%です。
この1週間の未実現スワップ増減金額は-49,815円です(今週末:-6,123,797円、先週末:-6,073,982円)。
※ 実質損益=売買損益+実現スワップ+この1週間の未実現スワップ増減金額
クロス円の通貨ペアのスワップ支払い金額は、現在1日5,717円です。
- EUR/JPY 12.0万通貨×-122円=-1,464円(9月12日の1日分)
- AUD/JPY 15.0万通貨×-116円=-1,740円(9月12日の1日分)
- NZD/JPY 15.0万通貨×-77円=-1,155円(9月12日の1日分)
- CAD/JPY 14.0万通貨×-97円=-1,358円(9月12日の1日分)
現在、クロス円の通貨ペアは、ポジションを落としたり、利確したりしつつ、ポジションをホールド中です。
決済可能なポジションは、CAD/JPY:14本(23,394円)=売買益:23,394円です。
スワップがプラスの通貨ペアのスワップ受取り金額は、現在1日1,588円です。
- EUR/GBP 18.2万通貨×+81円=+1,474円(9月12日の1日分)
- AUD/NZD 7.6万通貨×+15円=+114円(9月12日の1日分)


今週も淡々と運用結果を記録。ただそれだけ。
投資元本増減金額(2022年8月1日の週以降)

クロス円の通貨ペアのスワップの推移(2023年7月3日の週以降)


307週目の口座状況

トラリピさん、来週もよろしくお願いします。