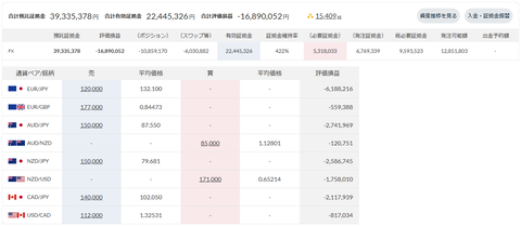
現在の合計損益は-13,522,230円、評価損益(ポジション)は-10,859,170円、証拠金維持率は422%です。
この1週間の未実現スワップ増減金額は-47,856円です(今週末:-6,030,882円、先週末:-5,983,026円)。
※ 実質損益=売買損益+実現スワップ+この1週間の未実現スワップ増減金額
クロス円の通貨ペアのスワップ支払い金額は、現在1日5,727円です。
- EUR/JPY 12.0万通貨×-124円=-1,488円(8月28日の1日分)
- AUD/JPY 15.0万通貨×-116円=-1,740円(8月28日の1日分)
- NZD/JPY 15.0万通貨×-77円=-1,155円(8月28日の1日分)
- CAD/JPY 14.0万通貨×-96円=-1,344円(8月28日の1日分)
現在、クロス円の通貨ペアは、ポジションを落としたり、利確したりしつつ、ポジションをホールド中です。
決済可能なポジションは、CAD/JPY:10本(15,160円)=売買益:15,160円です。
スワップがプラスの通貨ペアのスワップ受取り金額は、現在1日1,596円です。
- EUR/GBP 17.7万通貨×+81円=+1,434円(8月28日の1日分)
- AUD/NZD 8.5万通貨×+19円=+162円(8月28日の1日分)


今週も淡々と運用結果を記録。ただそれだけ。
投資元本増減金額(2022年8月1日の週以降)

クロス円の通貨ペアのスワップの推移(2023年7月3日の週以降)


305週目の口座状況

トラリピさん、来週もよろしくお願いします。