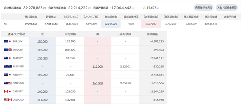
現在の合計損益は-13,753,334円、評価損益(ポジション)は-11,167,034円、証拠金維持率は403%です。
この1週間の未実現スワップ増減金額は-44,141円です(今週末:-5,897,609円、先週末:-5,853,468円)。
※ 実質損益=売買損益+実現スワップ+この1週間の未実現スワップ増減金額
クロス円の通貨ペアのスワップ支払い金額は、現在1日5,829円です。
- EUR/JPY 12.0万通貨×-125円=-1,500円(8月8日の1日分)
- AUD/JPY 15.0万通貨×-117円=-1,755円(8月8日の1日分)
- NZD/JPY 15.0万通貨×-82円=-1,230円(8月8日の1日分)
- CAD/JPY 14.0万通貨×-96円=-1,344円(8月8日の1日分)
現在、クロス円の通貨ペアは、ポジションを落としたり、利確したりしつつ、ポジションをホールド中です。
決済可能なポジションは、CAD/JPY:6本(8,016円)=売買益:8,016円です。
スワップがプラスの通貨ペアのスワップ受取り金額は、現在1日1,825円です。
- EUR/GBP 18.9万通貨×+87円=+1,644円(8月8日の1日分)
- AUD/NZD 11.3万通貨×+16円=+181円(8月8日の1日分)


今週も淡々と運用結果を記録。ただそれだけ。
投資元本増減金額(2022年8月1日の週以降)

クロス円の通貨ペアのスワップの推移(193週目以降)


302週目の口座状況

トラリピさん、来週もよろしくお願いします。