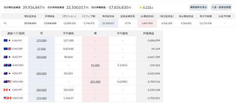
現在の合計損益は-13,867,539円、評価損益は-12,089,858円、証拠金維持率は377%です。
この1週間の未実現スワップ増減金額は-114,323円です(今週末:-5,746,972円、先週末:-5,632,649円)。
今週の実質損益は-105,313円です。
※ 実質損益=売買損益+実現スワップ+この1週間の未実現スワップ増減金額
クロス円の通貨ペアのスワップ支払い金額は、現在1日12,520円です。
- EUR/JPY 17.0万通貨×-180円=-3,060円(1月10日の1日分)
- AUD/JPY 20.0万通貨×-146円=-2,920円(1月10日の1日分)
- NZD/JPY 20.0万通貨×-164円=-3,280円(1月10日の1日分)
- CAD/JPY 20.0万通貨×-163円=-3,260円(1月10日の1日分)
現在、クロス円の通貨ペアはポジションをホールド中です。
決済可能なポジションは、AUD/JPY:22本(43,890円)+NZD/JPY:38本(104,576円)+CAD/JPY:47本(154,959円)=売買益:303,425円です。

今週の実質損は10万円を超えてしまいました。
クロス円以外の通貨ペアである程度決済注文が成立しないと1週間の実質損を10万円以下に抑えるのは厳しい状況です。
クロス円の通貨ペアのスワップが少なくなり始めました。

CAD/JPYはまだ少々スワップが多めですが、全体的にこれから徐々に少なくなっていってくれるとありがたいです。
ただ、日銀の1月利上げはないでしょうし、アメリカの利下げは年内あと1回とも言われているので、そう簡単には少なくなってくれなさそうです。
今年は毎月月末にクロス円の通貨ペアのポジションを5本(4通貨ペアで20本)ずつ落としていくことを予定していますが、今月は週明けに実行するかも知れません。
EUR/JPYの価格が下がってきていること、決済可能なポジションがCAD/JPYは減っているものの、AUD/JPYとNZD/JPYは増えていることを考えると、この辺りが良いタイミングなのかも知れません。
月末になればもっと下がるのかも知れませんが、スワップ支払いを考えると可能な限り早くポジションを落としたい。
月末に限定せず、相場を見て、月1回を目安にクロス円の通貨ペアのポジションを落としていきたいと思っています。
CAD/JPYは少し利が乗っているポジションがあるので、もう少し円高になるようであれば利確も考えています。
272週目の口座状況

トラリピさん、来週もよろしくお願いします。