2025年9月(8月31日~9月27日:4週間分)のトラリピ運用実績です。
今月の実質損益は-287,517円でした。
9月24日にクロス円の通貨ペアのポジションを20本落とし、159,850円の売買損が生じたので、それを除いた今月の実質損益は-127,667円です。
9月24日にクロス円の通貨ペアのポジションを20本落とし、159,850円の売買損が生じたので、それを除いた今月の実質損益は-127,667円です。
- 合計損益は税引き後、実現損益(実質損益)は税引き前の金額です。
- 累計の実質損益=累計の実現損益+未実現スワップ
- 今月の実質スワップ損益=未実現スワップ-先月末の未実現スワップ+今月のスワップ損益
- 今月の実質損益=今月の売買損益+今月の実質スワップ損益

2022年1月以降の合計損益の推移

累計実質損益の推移(クロス円)

9月24日にクロス円の通貨ペアのポジションを20本落とし、10月、11月、12月も20本ずつ落としていこうと思っています。
ただ、もう少し円安が進みそうなこと、円高に転じるには少々時間がかかりそうなことを考えると、ポジションを落とすスピードが遅い気もしてきました。
2週間に1度のスピードで20本ずつ落としていくことも考えています。
累計実質損益の推移(クロス円以外)

EUR/GBPの伸びが減速している印象をもっていたのですが、グラフを見るとそれほどではない感じです。
NZD/USDとUSD/CADはスワップ負けが続いているので、そろそろポジションを落とすことを検討しなければならないのかも知れません。
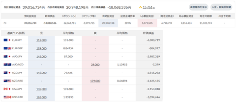
2025年9月末(2025年9月27日)の口座状況

- 現在、クロス円の通貨ペアは、ポジションを落としたり、利確したりしつつ、ポジションをホールド中です。
決済可能なポジションは、CAD/JPY:10本(15,160円)=売買益:15,160円です。 - NZD/USDのトラップ幅を0.0005米ドル→0.001米ドルに変更したため、0.XXX5米ドル(0.6455~0.6995米ドル(55本))のポジションは決済後に順次注文を取り消します。
相場の動きによっては、決済を待たずに損切りする可能性もあります。
トラリピさん、来月もよろしくお願いします。



